首頁 -> 內地
大連萬達集團新增被強執超24億元 累計超76億分享到:
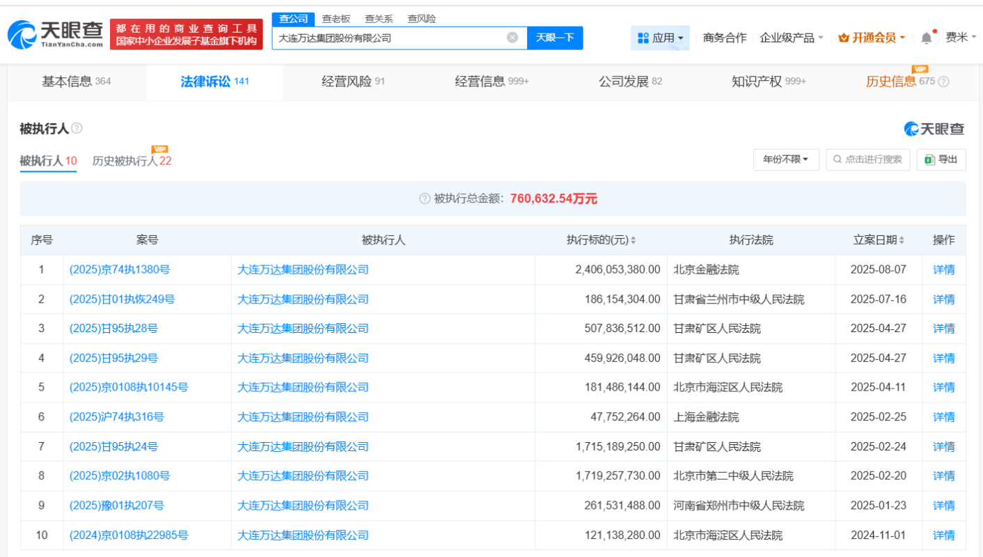
香港中通社8月11日電 8月11日,中國大連萬達集團股份有限公司新增一則被執行人信息,執行標的24億餘元人民幣,執行法院為北京金融法院。
天眼查截圖 天眼查風險信息顯示,大連萬達集團現存10條被執行人記錄,累計被執行金額已超76億元。此外,該公司還存在多條股權凍結信息。 資料顯示,大連萬達集團股份有限公司成立於1992年9月,法定代表人為王健林,註册資本10億人民幣,經營範圍包括商業地產投資及經營、酒店建設投資及經營、連鎖百貨投資及經營等,由大連合興投資有限公司、王健林共同持股。 為緩解債務壓力,萬達集團2025年已先後出售多個萬達廣場。據不完全統計,2023年至2024年,王健林已陸續出售超過30座萬達廣場。今年以來,這一出售節奏加快,僅年初就有7座萬達廣場被出售。(完) 【編輯:彭玉婷】
|
視頻更 多
【你不知道的香港】香港鬧市中的這座百年古堡竟然是這個用途?!
66歲長者看完即心動!走進香港首個“長者友善”認證樓宇
終可“回家”!香港宏福苑居民分批上樓執拾 有人拿回畫作
50分26秒,超越人類紀錄!第二屆人形機器人半馬的冠軍秘訣是什麼?
潮汕非遺走進香港 10歲英歌舞隊員:想把中國文化帶向世界
2026香港金像獎:梁家輝五封影帝 廖子妤首奪影后
南非隊首奪香港國際七人欖球賽2026冠軍 港隊成功衛冕銀劍賽
來論更 多評論更 多
論壇更 多 |










