首頁 -> 頭條
美國防長確診新冠 全球已有六國確診超千萬分享到:
香港新闻网1月3日電 當地時間1月2日,美國國防部長奧斯汀表示,自己出現輕微症狀後進行新冠病毒檢測,檢測結果呈陽性。
(美國防長奧斯汀 資料圖片) 美國國防部官網當地時間1月2日發佈了奧斯汀的聲明。聲明稱,“我今天早上新冠檢測結果呈陽性。我在休假期間出現症狀後,今天要求進行檢測”,“我的症狀很輕,我正在遵照醫生的指示。按照這些指示,並根據CDC的指導方針,我將在接下來的5天裡在家進行隔離”。 奧斯汀上一次與拜登會面是在2021年12月21日,當天他的新冠病毒檢測結果是陰性。 美国疫情形势一直严峻,军政界多次出现有人新冠病毒检测结果呈阳性的情况。多名医学专家警告称,2022年的第一个月,新冠病毒的快速传播恐怕将在全美范围内刮起一场“病毒风暴”。歐美國家已經成為疫情重灾区。
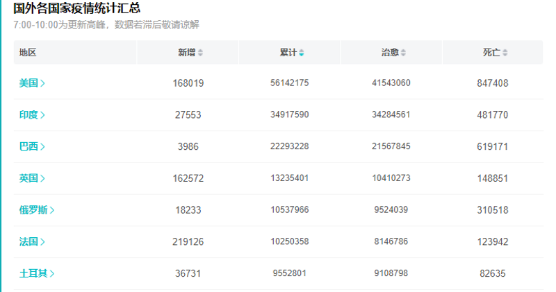
(世界疫情趋势图 圖源百度網) 根據世界衛生組的統計數據,截至北京時間1月3日凌晨,確診數超過千萬的國家包括: 美國(56,142,175)、印度(34,917,590)、巴西(22,293,228)、英國(13,235,401)、俄羅斯(10,537,966)、法國(10,250,358)。法國是新年第一天跨國千萬門檻的。 土耳其以9,552,801例確診排名第七。
(新冠確診數排名前七位的國家 圖源百度網) (完) 【編輯:王軼南】
|
視頻更 多
【你不知道的香港】香港鬧市中的這座百年古堡竟然是這個用途?!
66歲長者看完即心動!走進香港首個“長者友善”認證樓宇
終可“回家”!香港宏福苑居民分批上樓執拾 有人拿回畫作
50分26秒,超越人類紀錄!第二屆人形機器人半馬的冠軍秘訣是什麼?
潮汕非遺走進香港 10歲英歌舞隊員:想把中國文化帶向世界
2026香港金像獎:梁家輝五封影帝 廖子妤首奪影后
南非隊首奪香港國際七人欖球賽2026冠軍 港隊成功衛冕銀劍賽
來論更 多評論更 多
論壇更 多閱讀排行 |











